Page 50 - Serving Gifted Learners
P. 50
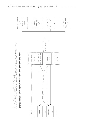
49 áYƒæàŸG äÉ«Ø∏ÿG …hP ÚHƒgƒŸG ÜÉѰû∏d á°SQóŸG êQÉN èeGôH ᫪ CgG :ådÉãdG π°üØdG :á°SQóªdG ,…óëàdG ºYO áLQO äGòdG äGó≤à©e ᫪jOÉc’C G á«©aGódG π«°üëàdG
ºéëdG .¥ô©dG ,SES ÖgGƒªdG äÉeɪàg’G »∏©ØdG º∏©àdG
Qƒ°†ëdG
»aÉ≤ãdG ºYódG ä’ÉéªdÉH á∏°üdG
᫪jOÉc’C G ∞«μàdG
:OôØdG
¢ùæédG QÉ«àN’Gh Qɪãà°S’G
≥HɰùdG π«°üëàdG á°SQóªdG êQÉN ᣰûf’C
ÖgGƒªdG .¥ô©dG ájõcôe
ájƒ¡dG ójóëJ IOÉjR áLQO
:Iô°SC’G á°SQóªdG ™e ¿hÉ©àdÉH
SES .áaÉ≤ãdG
º«≤dG ,á¨∏dG ájƒ¡dG IOÉjR áLQO
á«HÉéj’G á«bô©dG
:™ªàéªdG
.»ØjQ /…ô°†M »Ñ«côJ êPƒªf :áYƒæàe ájƒ¨dh á«aÉ≤K äÉ«Ø∏N øe ø«HƒgƒªdG ÜÓ£∏d á°SQóªdG êQÉN ᣰûfGC :1.3 πμ°ûdG
¢UôØdG ∞dDƒe øe äÉaɰVGE OƒLh ™e ,(247 ¢U ,2002) ¿hôNBGh øjÉàædÉah (221 ¢U ,Jordan & Nettles , 2000) õ∏à«fh ¿GOQƒL øe á°ùÑà≤e :á¶MÓe)
(.á©£≤àe •ƒ£îH äÉ©Hôeh πFɪdG §îdÉH äɪ∏c ∫ÓN øe ô¡¶J π°üØdG

